13322005990
您当前位置:首页 > pos办理新闻 > pos行业资讯 > 又有两张支付牌照挂牌转让
浏览次数:441次 发布时间:2022-08-29 来源:银盛通

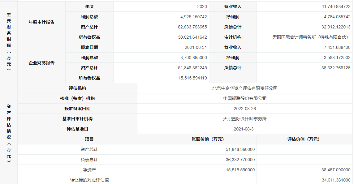
8月29日,据上海联合产权交易所公开信息披露,银联商务股份有限公司、北京京融信达数据系统有限公司集体挂牌转让北京银联商务有限公司90%股权,转让价格为3.46亿元,按此价格计算,北京银商评估价值约3.84亿元。

股权结构显示,北京银商的控股股东为银联商务股份有限公司持股比例为75.5%,第二大股东北京京融信达数据系统有限公司持股比例为14.75%,北京世冠方舟科技发展有限公司、北京建投科信科技发展股份有限公司则分别持有5%。

据披露的财务指标显示,2022年8月31日财务报告显示,该公司营业收入7431.69万元,利润总额为3700.86万元,净利润亏损3588.17万元。
资产评估方面,北京银商资产总计5.19亿元,负债总计3.63亿元,净资产1.55亿元。
此外,本次产权交易的最终受让方要成为标的企业的股东,需要获得中国人民银行对本次股权转让的批准。

北京银联商务成立于2002年7月,注册资金1亿元,于2011年首批获得中国人民银行颁发的《中华人民共和国支付业务许可证》,业务类型涵盖银行卡收单(北京市)、预付卡受理(北京市)、互联网支付(全国)。
北京这张支付牌照也在转让

值得注意的是,同日北京产权交易所的公开信息显示,北京数字王府井科技有限公司40%股权也在公开转让。
8月29日,北京东方文化资产经营有限公司所持有的北京数字王府井40%股权通过北京产权交易所公开转让,转让底价为7324万元。
公开信息显示,北京数字王府井主要股东中,银联商务股份有限公司持股60%,北京东方文化资产经营有限公司持股40%。
2021年12月,银联商务已将持有北京数字王府井司60%的股权挂牌转让,转让底价1.092亿元人民币,不过尚未成交,最新的信息披露结束日期为2022年8月31日。

这也意味着北京数字王府井的全部股权都将挂牌交易。

北京数字王府井成立于2001年,注册资本1亿元人民币。2011年5月,获得中国人民银行颁发的非金融机构《支付业务许可证》,业务范围覆盖北京市的银行卡收单和预付卡受理许可。
受《支付条例》新规影响
2021年初,央行发布《非银行支付机构条例(征求意见稿)》,备受支付行业关注。征求意见稿第十一条(主要股东、控股股东和实际控制人条件)中规定,同一法人不得持有两个及以上非银行支付机构10%以上股权,同一实际控制人不得控制两个及以上非银行支付机构。
该条例一出则让手中持有多张支付牌照的公司面临相当棘手的问题。对于持有多家支付牌照的公司来说,未来要考虑的问题是整合、注销或者出售。
或是为了响应监管要求,作为支付行业领头羊的银联商务在之后的支付牌照续展中,旗下广州银联网络、北京数字王府井、北京银商、宁波银商、深圳市银联金融网等子公司均向中国人民银行提交了中止续展审查申请。
目前,银商旗下除此次的北京银联商务和北京数字王府井外,还有深圳市深银联易办事金融服务有限公司51%股权、宁波银商55%的股权和上海银联电子支付服务有限公司的股权正在挂牌转让,转让价格分别为8676.41万元、6059.35万元和5.55亿元。
下一篇:这家支付机构高管集体退出
|
|
几十万客户通过全国pos机办理服务网获得了自己想要的POS机产品!赶紧拿起电话咨询吧!
办理要带什么资料?
请问我所在的地区能代理这个产品吗?
作为此项目加盟商能享受到哪些支持?
请问投资此项目所需的费用有哪些?